
天宫课堂第二课
一起奔赴星辰大海

继“天宫课堂”首次太空授课后
“天宫课堂”第二课
于3月23日15:40在中国空间站开讲
鲁山县科学技术协会联合
兴源高中共同举办
“天宫课堂”授课直播活动
兴源高中组织学生
同步观看了这堂精彩纷呈的
让我们一起
体验太空奥妙,追寻科学梦想吧
本次太空授课活动继续采取
天地对话方式进行
由航天员在轨演示
太空“冰雪”实验、液桥演示实验
水油分离实验、太空抛物实验
介绍与展示空间科学设施
旨在传播普及空间科学知识
激发广大青少年不断追寻“科学梦”
实现“航天梦”的热情





兴源学子观看“天宫课堂”直播


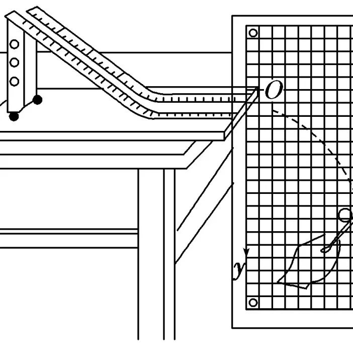
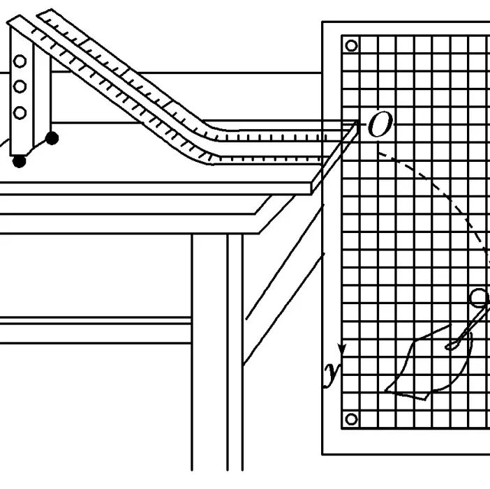
在地球上做以上实验会有什么现象呢
兴源高中的老师们
鼓励学子在家时
动手尝试以下四个实验
我们一起来
感知宇宙的奥秘
体验探索宇宙的乐趣

在一杯热开水(使用透明的容器)中溶解食盐,使其成为一杯饱和溶液。当液体冷却后观察现象。在一定温度下,向水中加入食盐,当食盐不能继续在水中溶解时,所得到的为食盐的饱和溶液。
液桥是指在固体间的小液柱。可以让一滴水夹在大拇指和食指中间,两只手指慢慢分离,观察通过这种方法形成液桥的最大长度,并思考为什么会产生液桥。
把水和油加入到一个容器(透明)中,尝试分离水和油。
向空中抛掷轻重适宜的物体,观察并描绘物体在空中的运动轨迹。

通过观看直播
大家对航天知识、中国空间站
有了更加深入的了解和认识
同学们纷纷表示
科学的魅力是无穷的
今后将认真学习科学知识
解锁宇宙奥秘,感知科学世界
在未来争做一名“航天人”





